1996 evinrude outboard wiring diagram

2 Stroke Mercury Outboard Wiring Diagram Schematic - Wiring Diagram Schemas we have 9 Pictures about 2 Stroke Mercury Outboard Wiring Diagram Schematic - Wiring Diagram Schemas like Evinrude Vro Wiring Diagram, 31 Omc Control Box Diagram - Free Wiring Diagram Source and also Johnson Fuel Pump & Filter Parts for 1996 48hp J48ESLEDC Outboard Motor. Read more:

2 Stroke Mercury Outboard Wiring Diagram Schematic - Wiring Diagram Schemas

2 Stroke Mercury Outboard Wiring Diagram Schematic - Wiring Diagram Schemas wiringschemas.blogspot.com

mariner

Yamaha 60 Outboard Wiring Diagram Pdf - Wiring Diagram Schemas

Yamaha 60 Outboard Wiring Diagram Pdf - Wiring Diagram Schemas wiringschemas.blogspot.com

outboard engine ignition evinrude 703 remote wholefoodsonabudget buick imageservice worldvisionsummerfest ricardolevinsmorales engines roadmaster grom turn

Johnson Tilt And Trim Wiring Diagram - Wiring Diagram Database

Johnson Tilt And Trim Wiring Diagram - Wiring Diagram Database wiringdiagram99.blogspot.com

omc evinrude crowley suzuki crowleymarine diagrams

Johnson Outboard Fuel Filter - Wiring Diagram Schema

Johnson Outboard Fuel Filter - Wiring Diagram Schema wiring88.blogspot.com

outboard evinrude 90hp 115hp marineengine

Evinrude Vro Wiring Diagram

Evinrude Vro Wiring Diagram www.chanish.org

evinrude outboard vro

Johnson Outboard Fuel Pump Diagram - Hanenhuusholli

Johnson Outboard Fuel Pump Diagram - Hanenhuusholli hanenhuusholli.blogspot.com

evinrude diagrams boats

31 Omc Control Box Diagram - Free Wiring Diagram Source

31 Omc Control Box Diagram - Free Wiring Diagram Source mickygurlz.blogspot.com

omc control evinrude remote johnson mount diagram box side parts motor assembly outboard switch wiring hp 2001 key tilt surface

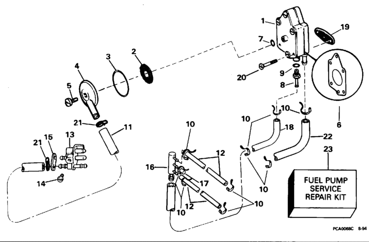
Johnson Fuel Pump & Filter Parts For 1996 48hp J48ESLEDC Outboard Motor

Johnson Fuel Pump & Filter Parts for 1996 48hp J48ESLEDC Outboard Motor www.marineengine.com

outboard 48hp evinrude

Evinrude 15 Hp Fuel Pump Diagram - Hanenhuusholli

Evinrude 15 Hp Fuel Pump Diagram - Hanenhuusholli hanenhuusholli.blogspot.com

evinrude

31 omc control box diagram. Outboard 48hp evinrude. Johnson outboard fuel pump diagram